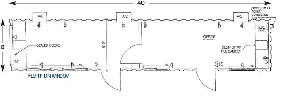
MODEL: OC 8′ x 40′ 2-Room
Customize any unit to your specs, from paint to plumbing. All units fully outfitted with Heat, Air Conditioning, VCG Interior Walls, Desks, Phone/Data Line, File Cabinets and Plan Tables. Many Layouts to choose from to accommodate your space needs.
PORTABLE JOBSITE OFFICE SOLUTIONS – Very Secure and Stackable.
